39 john deere x475 parts diagram
John Deere Mower Deck Wash-Port Port Kit - GX22426-KIT. (24) $13.73. Usually available. Add to Cart. Quick View. A Complete Listing Of All John Deere Lawn Tractor Parts Is Available Using Illustrated Diagrams. This quick parts reference guide will provide you with the most common John Deere X475 Lawn Tractor Parts 54C Mower Deck. These John Deere Lawn Tractor Parts may include: Tune Up Kit, Spark Plug, Mower Blades, Traction Drive Belt, Transmission Belt ...
John Deere X475 Lawn and Garden Tractor Service Manual John Deere X475 Lawn and Garden Tractor Technical Manual TM2023 556 Pages in .pdf format 102.3 MB in .zip format for super fast downloads! This factory John Deere Service Manual Download will give you complete step-by-step information on repair, servicing, and preventative maintenance for your John … Continue reading "John Deere X475 ...

John deere x475 parts diagram
Serial Number: M0X475A012615. Used 2002 John Deere X475 Lawn & Garden Tractor, 24 HP, Kawasaki Gas Engine, 54" 3-Blade Mower Deck, Turf Tires, Hydro Transmission, Hydraulic Deck Lift. Kawasaki Gas Engine Turf Tires Hydraulic Deck Lift Drive Type: 2WD. X475 Brian, I had an X475 for over nine years. It was a true work horse.I had a front blade for it for snow, and I made a scoop bucket that also attached to the angle kit. I did alot of digging with it and moved alot of large pieces of wood with it. I still have the bucket and am trying to sell it.I traded my loyal 475 in on my new 1026R. Diagram group X729 Select Series Ultimate Tractor John Deere : 20 ENGINE CCE. 30 FUEL AND AIR CCE. 40 ELECTRICAL CCE. 50 POWER TRAIN CCE. 55 REAR POWER-TAKEOFF CCE. 60 STEERING AND BRAKES CCE. 70 HYDRAULICS CCE. 80 WHEELS, FRAME AND OPERATOR'S STATION CCE.
John deere x475 parts diagram. We are a full-service John Deere dealer with world-class after sale support in parts and service. We have a huge inventory of John Deere Parts in stock and place/receive orders for parts every day. Our inventory of power equipment parts is probably the widest in the industry, which allows us to offer quick response times and to give 'real ... John Deere X585 Wiring Diagram. John deere x465 x475 x485 x575 x585 tm2023 pdf help page 2 my tractor forum diagram wiring full version hd quality dead no longer hear fuel pump how to test lawn and garden tractors technical service manual truck wont start x595 electrical problem failure it appears that the has failed i have removed line in 322 ... The John Deere X475 is a lawn and garden tractor from the John Deere X-series. The John Deere X475 garden tractor was manufactured on the factory in Horicon, Wisconsin, USA from 2002 to 2005. The John Deere X475 is equipped with the Kawasaki FD671D engine. The Kawasaki FD671D is a 745 cc, (45.5 cu-in) V-twin 90° liquid-cooled 4-stroke internal ... A Complete Listing Of All John Deere Lawn Tractor Parts Is Available Using Illustrated Diagrams. This quick parts reference guide will provide you with the most common John Deere X475 Lawn Tractor Parts 62C Mower Deck. These John Deere Lawn Tractor Parts may include: Tune Up Kit, Spark Plug, Mower Blades, Traction Drive Belt, Transmission Belt ...
John Deere X475 Parts. The John Deere X475 was produced from 2002 to 2005 and came standard with power steering and hydraulic deck lift with available X475AWS with 4 Wheel Steering. Other features include Hydraulic Control Valves, hydrostatic drive transmission with differential lock and 23hp liquid cooled Kawasaki Engine. Some of the parts available for your John Deere X475 include Electrical & Gauges, Lawn and Garden and Specialty Belts, Sunbelt - Blades, Sunbelt - Rider and Walk-behind. Choose your Sub-Category or use the "Search products within this category" search bar just above. Electrical & Gauges. Fits John Deere 190C 54" Lawn Mower Deck Parts Rebuild Kit. 3.3 out of 5 stars 4. $181.49 $ 181. 49. Get it Wed, Nov 24 - Wed, Dec 1. FREE Shipping. Podoy GY21099 Spindle Assembly for Compatible with John Deere 190C D170 G110 LA150 LA175 54 Inch Decks GY20867 285-883(Pack of 3) 4.5 out of 5 stars 43. Search part numbers and John Deere parts diagrams to identify exactly what you need to keep your equipment running smoothly. Search Parts Catalog. Save 15% 2 on MowerPlus™ Smart Connectors. Save 15% 2 on a MowerPlus™ Smart Connecter. Use your Smart Connector with the MowerPlus™ app to work smarter, not harder this fall.
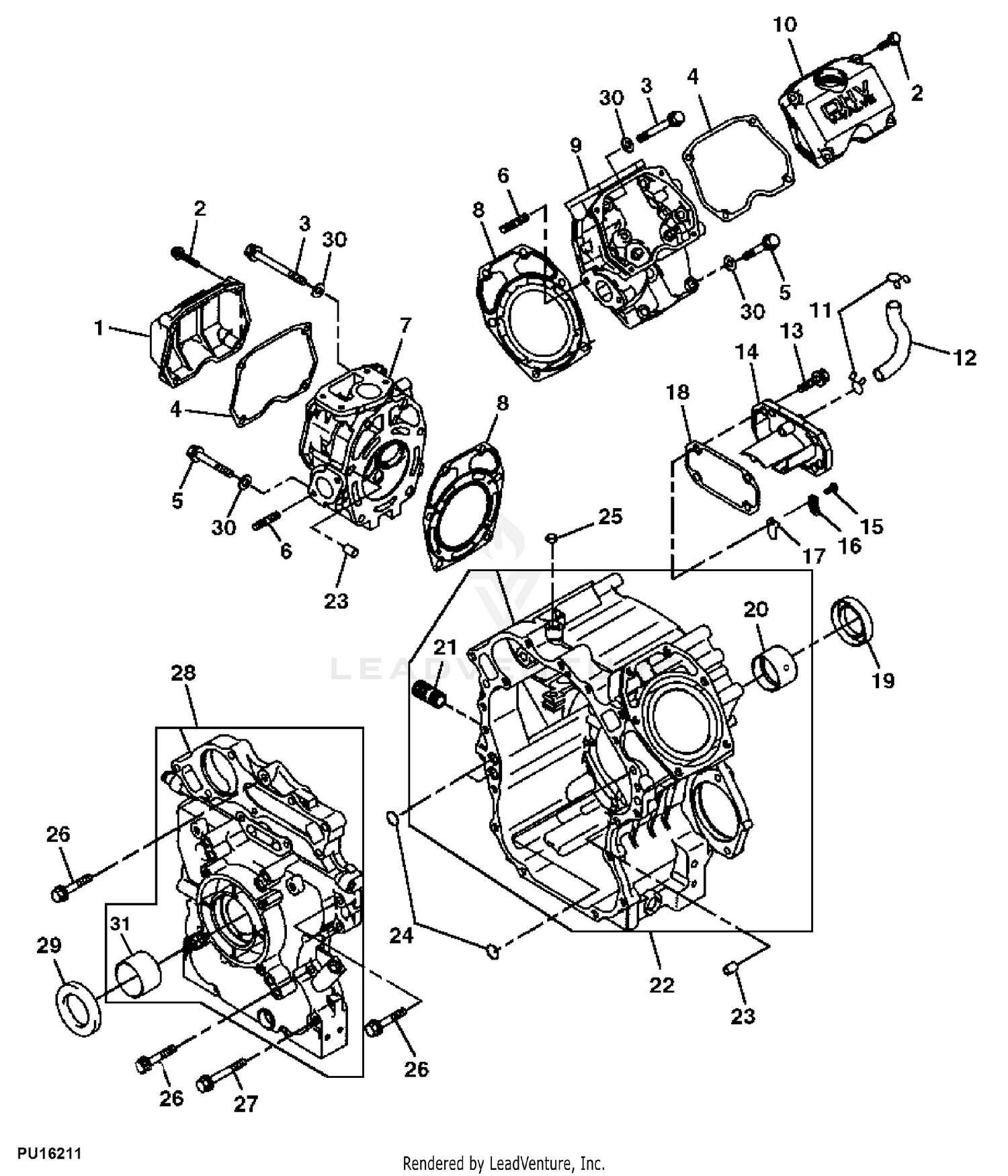
John Deere Parts Diagrams, John Deere X475 GARDEN TRACTOR. ELECTRICAL. ENGINE MIA11056. FUEL AND AIR. HYDRAULICS. Implement Drive Shaft. LABELS AND OPTIONAL EQUIPMENT. MOWER DECK LIFT. Power Train. Lawn and Garden Tractors published in 2000, by John Deere: Lawn and Garden Tractor X465, X475, X485 Operator's Manual published in 2002, by John Deere: Lawn and Garden Tractor X465, X475, X485 Operator's Manual published in 2004, by John Deere: Page information: Last update: October 27, 2020 john deere 425, 445 and 455 lawn and garden tractors - the repair … diagram] smart 450 radio wiring diagram full version hd quality … diagram] 1968 john deere 112 wiring diagram full version hd … diagram] wiring diagram for a john deere d140 full version hd … jd x475 mower deck won't engage, instrument cluster dead | my … john deere 111 wiring diagram - snsweddingcard wiring ... NEW KAWASAKI FD750D 27 HP REPLACEMENT ENGINE KIT FOR JOHN DEERE X475 and 575. Installation is a breeze when buying this repower kit from the PROS! You will never regret your hard work after you experience the pleasure and satisfaction that this high quality powerhouse will give you. This engine kit is designed to drop right into your John Deere ...
John Deere Products. John Deere Equipment Attachments. John Deere Lawn and Garden Tractor Attachments. Model X475.
What Would Cause My Deere Lawn Tractor To Run Sporadically Sometimes It Runs 2 Minutes Sometimes 2 Hours Seems To Be
John Deere X465 X475 X485 X495; John Deere X465 X475 X485 X495
John Deere X475 Garden Tractor Pc9110 2002 Model M0x475a010001 020000 Two Wheel Steer X475 Garden Tractor Pc9110 2002 Model M0x475b010001 020000 All Wheel Steer X475 Garden Tractor Pc9110 2003 Model M0x475a020001 030000 Two Wheel Steer
John Deere Model X495 Lawn and Garden Tractor Parts - The 13-digit product identification number (serial number) (A) is located on the right-hand side
John Deere X475 Garden Tractor Pc9110 2002 Model M0x475a010001 020000 Two Wheel Steer X475 Garden Tractor Pc9110 2002 Model M0x475b010001 020000 All Wheel Steer X475 Garden Tractor Pc9110 2003 Model M0x475a020001 030000 Two Wheel Steer
ECOTRIC Pair Side Panel Screen Kit Green Left & Right Side Compatible with John Deere 415 425 445 455 Replacement for Part Number AM128982 AM128983. 4.6 out of 5 stars. 15. $114.50. $114. . 50. Get it Mon, Sep 20 - Wed, Sep 22. FREE Shipping.
700321 Front Frame For John Deere 425 445 455 X475 X485 X495 X575 X585 X595 X700 X720 X728 X740 X748 Tractors Discontinued Salem Power Equipment Llc
John Deere X465, X475, X485, X575, X585 Garden Tractors Technical Manual (TM2023) John Deere X495, X595 Garden Tractors Technical Manual (TM2024) John Deere 7720, 7820 and 7920 Tractors Operation and Test Technical Manual (TM2025) John Deere L100, L108, L110, L111, L118, L120, L130 Lawn Tractors Technical Manual (TM2026)
Used 2002 John Deere X475 Lawn & Garden Tractor, 24 HP, Kawasaki Gas Engine, 54" 3-Blade Mower Deck, Turf Tires, Hydro Transmission, Hydraulic Deck Lift. Kawasaki Gas Engine Turf Tires Hydraulic Deck Lift Drive Type: 2WD
John Deere X485 Parts. The John Deere X485 was produced from 2002 to 2005 and came standard with power steering and hydraulic deck lift with available X485AWS with 4 Wheel Steering or X485SE with premium seat and Fender guards. Other features include Hydraulic Control Valves, hydrostatic drive transmission with differential lock and 25hp liquid ...
A Worldwide Parts Services Distribution Network. The John Deere dealer is the first line of customer parts service. Throughout the world, there are dealers to serve Agricultural, Construction, Lawn and Grounds Care, and Off-Highway Engine customers.
John Deere AG, Lawn & Garden and CWP Equipment Parts Search. John Deere parts lookup tool and diagram is an incredible online source. It is a complete catalog that shows you detailed parts diagrams of every part of your machine. This online parts catalog is robust and easy to use. Searching for your John Deere parts online has never been easier.
Service Schedule Parts for a John Deere X485 Lawn Tractor & Parts List. While your John Deere machine is certainly built with quality parts, they have a limited life. Good news is you can easily service your machine yourself using a John Deere maintenance kit or service kits or by getting the specific John Deere part needed to keep your John Deere mower or tractor running for a long time.
Lawn and Garden Tractors published in 2000, by John Deere: Lawn and Garden Tractor X465, X475, X485 Operator's Manual published in 2002, by John Deere: Lawn and Garden Tractor X465, X475, X485 Operator's Manual published in 2004, by John Deere: Page information: Last update: October 27, 2020
Diagram group X729 Select Series Ultimate Tractor John Deere : 20 ENGINE CCE. 30 FUEL AND AIR CCE. 40 ELECTRICAL CCE. 50 POWER TRAIN CCE. 55 REAR POWER-TAKEOFF CCE. 60 STEERING AND BRAKES CCE. 70 HYDRAULICS CCE. 80 WHEELS, FRAME AND OPERATOR'S STATION CCE.
X475 Brian, I had an X475 for over nine years. It was a true work horse.I had a front blade for it for snow, and I made a scoop bucket that also attached to the angle kit. I did alot of digging with it and moved alot of large pieces of wood with it. I still have the bucket and am trying to sell it.I traded my loyal 475 in on my new 1026R.
Serial Number: M0X475A012615. Used 2002 John Deere X475 Lawn & Garden Tractor, 24 HP, Kawasaki Gas Engine, 54" 3-Blade Mower Deck, Turf Tires, Hydro Transmission, Hydraulic Deck Lift. Kawasaki Gas Engine Turf Tires Hydraulic Deck Lift Drive Type: 2WD.
Cce Component Remanufactured X465 X475 X485 X495 X575 X585 And X595 Lawn And Garden Tractors 12 Volt System C01 Epc John Deere Online
Brand New 12 Volt Regulator Fits John Deere Lx176 Lx178 Lx186 Lx188 Lx279 X475 X485 Voltage Regulators Replacement Parts Olharcidadao Com Br
John Deere X475 Mower Deck Issue Lawnsite Is The Largest And Most Active Online Forum Serving Green Industry Professionals
Amazon Com For John Deere Excavator 892dlc 892elc Main Hydraulic Pump Coupling Assy 4191663 Patio Lawn Garden
0 Response to "39 john deere x475 parts diagram"
Post a Comment