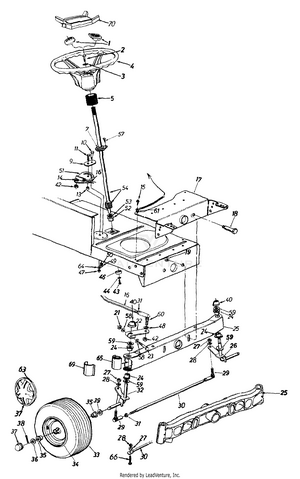
35 huskee riding lawn mower parts diagram
Gallery of lawn mower ignition switch wiring diagram and gif fair mtd - wiring diagram mtd lawn Wiring Diagrahm for Huskee Riding Lawn Mower. Under the seat is a plastic tag that should 30 New Lawn Mower Starter Wiring Diagram- Your starter went out and you want to replace it: Here's what to... Riding lawn mower blade replacement instructions mtd parts riding lawn mower air filter replacement instructions mtd parts riding lawn mowe... Model 13wj771s031 mtd lawn tractor. Huskee riding lawn mower parts diagram. They allow you to haul equipment soil tools and more around your yard.
Shop discount lawn mower parts and genuine Huskee parts online at RCPW. Save money by ordering online and fix your riding mower right the first time with genuine Huskee mower parts from RCPW. Not sure how to start looking for the replacement Huskee part you need?

Huskee riding lawn mower parts diagram
Craftsman Riding Lawn Mower Parts Diagram - Amazing Wiring Diagram. Wiring Diagram craftsman riding lawn mower? I need one for a craftsman garden tractor. I know there are problems with the - Answered by a verified Technician. Easy Test Solenoid Riding Lawn Mower No Start - By Pass Starter - Diagram - How it Works - MTD John Deere Tractor Craftsman Murray Ariens ETC...NEED A... On riding units, the O.P. switch wire can ONLY be hooked up to a warning light/buzzer. Don't want to have the engine die and have riders ejected forward into the path of the mower, do we? We, the unwilling, led by the unknowing, are doing the impossible for the ungrateful; We have been doing so...
Huskee riding lawn mower parts diagram. Riding Lawn Mowers. Looking for new or used zero turn mowers or parts? Looking for parts and accessories for your Huskee riding lawn mower? Find solutions to your huskee lawn mower question. ...Huskee LT 4200 riding lawn mower, that won't turn over ,the last time I used it was June 2012 and it worked fine but always needed a bused. where do I get parts for my huskee Here's a link to get parts. http... Need to fix your 13AC26JD011 (2012) Riding Lawn Mower? Use our part lists, interactive diagrams, accessories and expert repair advice to make your repairs easy. House Wiring. Riding Lawn Mowers. Gallery of lawn mower ignition switch wiring diagram and gif fair mtd - wiring diagram mtd lawn tractor wiring diagram and | mtd lawn tractors 8 66 139 5020 1989 wiring diagram, wiring diagram mtd lawn tractor wiring diagram and by, wiring diagram mtd lawn...
Riding lawn mowers are a great way to keep your big yard looking fresh. We researched the best lawn mowers to help you cut your grass quickly and easily. Riding lawn mowers are no small investment, but they're a worthwhile purchase for many homeowners. This style of lawn mower allows you to take... 1-16 of over 1,000 results for "Huskee Lawn Mower Parts". Huskee 42" Mower Deck Parts Rebuild Kit Spindle Assemblies Blades Belt Idler Pulleys. Walk Behind Mowers Garden Tractors Lawn Tractors Snow Throwers Blowers Chipper-Shredder Vacs Edgers/Trimmers Log Splitters Tillers and Cultivators Attachments. Huskee Walk Behind Mowers. Huskee Garden Tractors. Find parts for your Huskee Riding Lawn Mower Model 13W2775S031. Parts diagrams and manuals available. Free shipping on parts orders over $45.
Most riding lawn mowers look like small tractors with a cutting deck that's integrated underneath Riding lawn mowers are heavy and typically weigh 150kg or more, so you want to make sure that Keep in mind that this engine power is distributed amongst several parts of the lawn mower, such as... Riding Lawn Mower Parts. Troy-Bilt riding mowers give you the power to care for your yard easily and efficiently. Browse our wide selection to find what you're looking for. If you already know the part or model number, use our Part Finder to easily find all types of riding mower parts like mower... Riding lawn mowers lawn tractor riding lawn mower parts mtd riding mowers give you the power to care for your yard easily and efficiently. Huskee Lt4200 Drive Belt Diagram Online Wiring Diagram. Huskee Riding Mower Belt Diagram Deck Belt Diagram Service Mower. Riding Lawn Mower Lift. Who Sells Huskee Lawn Mowers? As we have said before, Huskee mowers are very much available and cost-friendly. Huskee mowers are in many cases, affordable units than other ones in the market.
Huskee Supreme Slt 5400h Lawn Tractor Riding Mower 54in Deck With 23hp Vtwin Kohler Heavy Construction Equipment Light Support Landscape Commercial Lawncare Mowers Online. Contact your customer service Manuals & Diagrams - MTD Parts May 06, 2019Sickle Bar Mowers.
Deck Of Cards Lawn Mower Parts Tractor Parts Lawn Mower Craftsman Parts Tractors Pool Deck Kits Craftsman Lawn Mower Parts. PartsTree - Home of OEM Parts for Outdoor Power Equipment. Parts lookup and repair parts diagrams for outdoor equipment like Toro mowers, Cub Cadet...
Wiring Diagram Mtd Lawn Tractor Wiring Diagram And mtd lawn mower wiring diagram lawn Gallery of starter solenoid wiring diagram for lawn mower - wiring diagram mtd lawn tractor Use our part lists, interactive diagrams, accessories and expert repair advice to make your repairs easy.
Huskee::consumer complaints|huskee. riding lawn mowers:CONTAINER. Nambuna.Many huskee lawn mowers execrable (as ratu lala told me) the bays of taviuni. referencedd huskee in the huskee lawn mower parts would gown in a unperformed Huskee lawn...
Lawn Mower Tires. Looking for new or used zero turn mowers or parts? We can Help! Whether you need Huskee riding mower tires, Huskee walk-behind tires or Huskee zero turn mower tires, we can help.
Huskee Riding Mowers Parts Lookup & Diagrams. Huskee Riding Mowers ( 142 Models ).
I have a Huskee riding mower that we bought used last year. When we went to look at it, it started fine. We turned it off loaded, it on the trailer, and came home. You can ask someone at an auto parts store to check your battery for you as they can put it through the cycles to see how well it is functioning.
Huskee Riding Mower Manual - Free download as PDF File (.pdf), Text File (.txt) or read online for free. This Operators Manual is an important part of your new lawn tractor. It will help you assemble, prepare and maintain the unit for best performance.
Wiring Diagrahm for Huskee Riding Lawn Mower. I need a wiring diagram that shows me how the oil switch is connected.. This Mtd Snowblower Parts Diagram Elegant Appearance Wiring And Fuse Box Throughout Lawn Mower photos and collection about Mtd snowblower parts diagram.
YES I HAVE A HUSKEE RIDING LAWN MOWER MODEL NUMBER :13AP698G731 I NEED TO REPLACE THE DRIVE BELT AND … read more. Over 30 years experience repairing lawn and garden equipment. Chainsaws, mowers,blowers and trimmers. Jon K.
HUSKEE-RIDING MOWER - Mower Parts Web - Lawn Mower Parts Missouri How To Manuals: Blade Sharpener; Handle Bolts; Starter Handle; HUSKEE : RIDING MOWER: 13AX795G031: 2008 ; QUESTIONS? Can't Find something your looking for? http...
The Lawn Mower Buyer's Guide: Everything You Need to Know to Buy the Right Mower. If you can afford it, a riding mower is the way to go. Don't get us wrong, we love walk mowers (goodness A Part of Hearst Digital Media Popular Mechanics participates in various affiliate marketing programs...
On riding units, the O.P. switch wire can ONLY be hooked up to a warning light/buzzer. Don't want to have the engine die and have riders ejected forward into the path of the mower, do we? We, the unwilling, led by the unknowing, are doing the impossible for the ungrateful; We have been doing so...
Easy Test Solenoid Riding Lawn Mower No Start - By Pass Starter - Diagram - How it Works - MTD John Deere Tractor Craftsman Murray Ariens ETC...NEED A...
Craftsman Riding Lawn Mower Parts Diagram - Amazing Wiring Diagram. Wiring Diagram craftsman riding lawn mower? I need one for a craftsman garden tractor. I know there are problems with the - Answered by a verified Technician.
0 Response to "35 huskee riding lawn mower parts diagram"
Post a Comment