Iklan 300x250

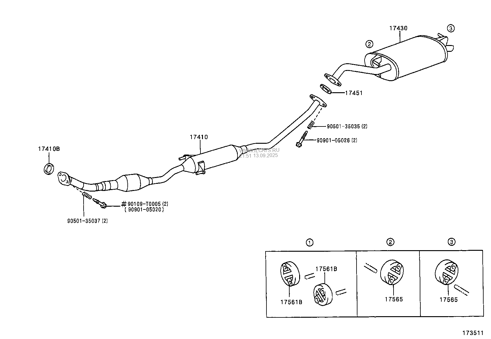
38 toyota corolla exhaust system diagram

2002 Toyota Corolla Exhaust System Diagram - Xoop Sbr Connecting a cold air intake system and full exhaust system will increase.. 2002 Toyota Corolla Exhaust System Diagram 2007 toyota corolla engine diagram. 1995, 1996, 1997, 1998, 1999, 2000, 2001, 2002) in the body: Toyota corolla is a compact class car manufactured by toyota since 1966. Exhaust Components for 2004 Toyota Corolla | Toyota Parts ... Exhaust Components for 2004 Toyota Corolla No. Part # / Description Price 1 Exhaust Manifold 17104-22100 Fits Corolla , Matrix All. Matrix. Corolla. Without awd. 2wd, 1.8L without xrs. MSRP $263.16 $192.11 Add to Cart 2 Exhaust Manifold Gasket 17173-0D020 Fits Celica, Corolla, Matrix, MR2 Gt. All. MR2. 4wd. Celica. Matrix.

Exhaust system - diagram | Toyota Nation Forum Joined Apr 6, 2012. ·. 47 Posts. Discussion Starter · #1 · Nov 6, 2020. Folks - from the front to back, the exhaust is quite rusty and will need replacement. I searched Google for a diagram of the entire system for an 04 double cab 4.7 but have not found anything with labels (admittedly, I'm a novice on exhaust stuff).

Toyota corolla exhaust system diagram

Toyota corolla exhaust system diagram

2020-2021 Toyota Corolla Sedan Exhaust: Borla Cat-Back System 2020-2021 Toyota Corolla Sedan Exhaust Systems. The BORLA® R&D team presents our exhaust system for the 2020 and up Toyota Corolla sedan. Our S-Type Cat-Back system is tuned specifically for the 2.0L engine in the Corolla's SE and XSE trim. It delivers a sportier sound without any of the dreaded drone inside the cabin. beautyathomeshop.de › toyota-4age-buildToyota 4age build - beautyathomeshop.de The Toyota Corolla AE86 was a 2-door compact sports car manufactured by Toyota between 1983 and 1987, marketed as the sportiest offering within the wider fifth-generation E80 Toyota Corolla range. 8mm Metal Head Gasket for AE86 Toyota Corolla GTS $ 83. Now he can do it for you, too. 38 toyota corolla exhaust system diagram - Wiring Diagram ... Toyota corolla exhaust system diagram. Toyota Corolla PDF Manual - Wiring Diagrams Toyota Corolla 1984-1992 Repair Manual - Manual in English for the maintenance and repair of Toyota Corolla 1984-1992 model years Download. Toyota Sprinter PDF Workshop and Repair manuals, Wiring Diagrams.

Toyota corolla exhaust system diagram. › p0171-toyota-fuel-system-too-leanP0171 Toyota Fuel System too Lean Bank 1 - Engine Misfire P0171 Lean is a very common fault code on Toyota’s. In this article I am going to be discussing the 1.8, 2.4 4 cylinder engines in the Toyota Corolla, Camry, Rav4 and Matrix along with the V6 3.5 liter engine used in the Camry, Avalon, Solara and Sienna van. Corolla Exhaust Pipes - Best Exhaust Pipe for Toyota ... Corolla Exhaust Pipes - Best Exhaust Pipe for Toyota Corolla - from $14.99+ | AutoZone.com APPLY CHANGES Auto Parts Emission Control and Exhaust Miscellaneous Exhaust Toyota Corolla Exhaust Pipe Buy Online. Pick Up In-Store. SET YOUR VEHICLE Get an exact fit for your Toyota Corolla Add a Vehicle 1-21 of 21 Results Items per Page Install exhaust system on a 2000 Toyota Corolla. - YouTube I tried to install an exhaust system on a 2000 Toyota Corolla, Manaflow 23881, I have no idea how they install them on Corolla since its physically impossibl... Exhaust Components for 2011 Toyota Corolla | Toyota Parts ... Exhaust Components for 2011 Toyota Corolla No. Part # / Description Price 1 Converter & Pipe 17410-0T240 From 12/10. Matrix. 1.8l. Corolla. 1.8l. 1.8L, us built. MSRP $1,450.54 $1,065.75 Add to Cart 1 Converter & Pipe 17410-37420 1.8L, japan built. MSRP $1,444.01 $1,060.95 Add to Cart 2 Exhaust Pipe Gasket 17451-0D140 Converter & Pipe Gasket

2008 Toyota Tundra Exhaust System Diagram - Xoop Sbr Toyota tundra exhaust system diagram. The ecm illuminates the mil and sets the dtc. This is why we found five of the best the design of this exhaust system is for more of a replacement than an upgrade. An effective exhaust system makes acceleration and braking very. Get the look and utility you need with new exhaust systems at extremeterrain.com. 2005 Toyota Corolla S 1.8L resonator muffler pipe exhaust ... Toyota: Corolla: XRS Sedan 4-Door: 1.8L: Reviews. Write Your Own Review. You're reviewing: 2005 Toyota Corolla S 1.8L resonator muffler pipe exhaust system kit. Nickname. Summary. Review. Submit Review. Related Products. Check items to add to the cart or select all. 2005 Toyota Corolla S 1.8L Exhaust Resonator Pipe. $104.99. 2003 TOYOTA COROLLA 1.8L L4 Exhaust System Kit | RockAuto Exhaust & Emission: Exhaust System Kit: TOYOTA > 2003 > COROLLA > 1.8L L4 > Exhaust & Emission > Exhaust System Kit. Price: No parts for vehicles in selected markets. FAMOUS BRAND {#106-0626} Multi-Piece Design (easy install) 2004 - 2008 Toyota Matrix Corolla Exhaust Flange Repair ... This video shows how to replace the exhaust resonator on the 2004 - 2008 Corolla/Matrix for 1ZZFE engines (not 2ZZFE XRS models as the parts may be different...

veronikakocianova.de › gy6-carburetor-vacuum-line-diagramGy6 carburetor vacuum line diagram - veronikakocianova.de Mar 31, 2022 · The cable 2000 Ford Taurus 3 0 VacuumVacuum Diagram Gy6 Carburetor Vacuum Line Diagram Vacuum Hose Toyota Corolla 2e Carburetor Vacuum Diagram Vacuum Advance Holley Carb Vacuum Diagram Four Wheeler Carburetor Carburetor Vacuum Line Diagram 50cc Scooter Carburetor Vacuum Line Diagram. diagram for gy6 … google web engine, gy6 150cc vacuum ... 2010 Toyota Corolla Parts Diagram | Automotive Parts ... Description: Toyota Corolla Parts - Partsgeek with regard to 2010 Toyota Corolla Parts Diagram, image size 767 X 198 px, and to view image details please click the image.. Truly, we have been noticed that 2010 toyota corolla parts diagram is being one of the most popular issue at this time. So we attempted to obtain some terrific 2010 toyota corolla parts diagram image for you. 2001 Toyota Corolla | Auto Parts | NAPA Auto Parts 2001 Toyota Corolla | Auto Parts | NAPA Auto Parts. CURBSIDE PICKUP. Same day if available. SAME DAY DELIVERY. On items available in store. HOME DELIVERY. Available on most products. FREE SHIPPING*. On orders $75 and more. Exhaust Components for 1997 Toyota Corolla | Toyota Parts 1 Exhaust Manifold 17141-19016 Federal. California. MSRP $334.13 $222.98 Add to Cart 2 Manifold Cover 17167-15080 Upper, federal. 1.8L, upper. Discontinued 3 Manifold Cover 17168-16071 Lower, federal. 1.8L, lower. Discontinued 8 Catalytic Converter 18450-16670 Converter Corolla. 1.8l. Celica. St. Rear. Corolla. 1.6l. Exc.Calif. From 08/1995.

BMW Defroster Nozzle Left 64228138945 - LLLParts

BMW Defroster Nozzle Left 64228138945 - LLLParts

2007 Toyota Corolla | Auto Parts | NAPA Auto Parts 2007 Toyota Corolla | Auto Parts | NAPA Auto Parts. No Thanks! By texting NAPA to 24002, you authorize NAPA to send promotional text messages to the phone number provided. Message frequency varies, msg & data rates may apply, text STOP to 24002 to opt-out, text HELP to 24002 for help. Consent not required and is not a condition of purchase.

TOYOTA COROLLAEE101R-AEMDK - TOOL-ENGINE-FUEL - EXHAUST PIPE ...

TOYOTA COROLLAEE101R-AEMDK - TOOL-ENGINE-FUEL - EXHAUST PIPE ...

Exhaust Components for 2002 Toyota Corolla | Camelback ... Exhaust Components for 2002 Toyota Corolla No. Part # / Description Price 1 Exhaust Manifold 17104-0D020 Us built. Corolla. All. Usa built. MSRP $332.03 $249.51 Add to Cart 1 Exhaust Manifold 17104-22010 Japan built. Corolla. All. Discontinued 2 Exhaust Manifold Gasket 17173-0D020 Fits Celica, Corolla, Matrix, MR2 Gt. All. MR2. 4wd. Celica.

LR051736 - Land Rover Silencer

LR051736 - Land Rover Silencer

› kia-fault-codesKIA Fault Codes DTC - Car PDF Manual, Wiring Diagram & Fault ... - occurrence of air leakage from the exhaust and intake systems EVAP; ... im looking for wiring diagram for toyota corolla 1.3 xli 1994 e100 chassis. full schematics ...

EXHAUST PIPE[ (8705-8908)4AF,4AGE,1C,2E..AE92,CE90,EE9 ...

EXHAUST PIPE[ (8705-8908)4AF,4AGE,1C,2E..AE92,CE90,EE9 ...

2006 Toyota Corolla Replacement Exhaust Parts - CARiD.com Toyota Corolla 2006, Replacement Exhaust Kit by BRExhaust®. Get confidence with this high-standard OE quality purchase which is perfect for those who want to perform a long-lasting exhaust system repair. Made from top-notch materials,...

Exhaust Components for 2001 Toyota Corolla | Toyota Parts Center

Exhaust Components for 2001 Toyota Corolla | Toyota Parts Center

2020 Toyota Corolla Exhaust System Hanger (Right ... EXHAUST PIPE Full Diagram #17562 Required: 2 M20AFKS..MZEA12 M20AFKS,2ZRFAE..MZEA12,ZRE212 APEX View All Diagrams Related Products BULB. BACK UP LAMP; FOR. 9098111059 $ 5.34 Exhaust Muffler 17430F2010 $ 407.59 GASKET, EXHAUST PIPE, NO. 2

Fits 2003-2008 Toyota Corolla/Matrix/Pontiac Vibe Full ...

Fits 2003-2008 Toyota Corolla/Matrix/Pontiac Vibe Full ...

Toyota Corolla Exhaust Parts | Toyota Parts Center Online Toyota Corolla OEM Exhaust parts will give you both peace of mind and total confidence for all those miles. Genuine Toyota Corolla Exhaust Parts have been engineered to meet Toyota's safety, reliability, and functionality standards. Plus, customize the OEM way with Toyota Corolla Accessories.

Possible Exhaust Leak on Front Pipe Above Heat Insulator

Possible Exhaust Leak on Front Pipe Above Heat Insulator

Standard corolla exhaust piping size - Toyota Owners Club I havent had time to go to the exhaust shop to get this checked out, but some riceboy told me he got an aftermarket muffler fitted only, because the 1ZZ-FE corolla had 2.25" piping (he wasn't specific)Is that true? I thought cars like Type R's come with 2", and standard corollas would come with 1...

2009-2013 Toyota Corolla Muffler - Borla 11795 - - PartsGeek.com

2009-2013 Toyota Corolla Muffler - Borla 11795 - - PartsGeek.com

› bmw-3-series-e903-e91-e92-eBMW 3 Series (E90, E91, E92, E93) (2005 - 2010) - Auto Genius Jun 12, 2018 · Exhaust camshaft sensor Exhaust VANOS solenoid Intake camshaft sensor Intake VANOS sensor Wastegate valves: F03: 20: Crankshaft sensor Fuel tank vent valve Oil condition sensor Volume control valve: F04: 30: Crankcase breather heaters Oxygen sensor heaters: F05 — — F06: 10: E-box fan Exhaust flap Fuel tank leakage diagnostic module: F07: 40 ...

Exhaust Muffler Repair & Replacement

Exhaust Muffler Repair & Replacement

2017 Toyota Corolla Performance Exhaust Systems | Mufflers ... 2017 Toyota Corolla Performance Exhaust Systems Complete Systems Headers Catalytic Converters Mufflers Exhaust Tips Exhaust Pipes Clamps, Hangers, Gaskets Oxygen Sensors Show items: 60 90 120 Sort by Borla® S-Type™ Stainless Steel Axle-Back Exhaust System with Single Rear Exit 0 # 1119849326

EXHAUST PIPE TOYOTA COROLLA (S.AMERICA) (157350)

EXHAUST PIPE TOYOTA COROLLA (S.AMERICA) (157350)

wunderino-236.de › ke30-partsC . _COMPONENT_PURCHASE. Deutsche Auto Parts - wunderino-236.de C . _COMPONENT_PURCHASE. Deutsche Auto Parts · 454K views 4 months ago ; Drift Masters European Championship. au Web Address: www. This is a individually operated, non profit site. 8 Fits early KE70 and KE30 Benefits:RCAs (Roll Center Adjusters, or Bump Steer Spacers) are designed t KE30 Fresh Water Generator Sasakura Engineering Genuine & OEM spare parts and ship equipment made in Japan ...

HKS Legamax Sports Catback Exhaust | 19+ Toyota Corolla ...

HKS Legamax Sports Catback Exhaust | 19+ Toyota Corolla ...

2006 Toyota Corolla | Auto Parts | NAPA Auto Parts 2006 Toyota Corolla | Auto Parts | NAPA Auto Parts. PICKUP IN STORE. Same day if available. HOME DELIVERY. Available on most products. FREE SHIPPING. On orders $75 and more. text.skipToContent text.skipToNavigation.

Exhaust Components for 2021 Toyota Corolla | Longo Toyota Parts

Exhaust Components for 2021 Toyota Corolla | Longo Toyota Parts

2007 Toyota Corolla Exhaust | Advance Auto Parts 5. from $21.99. Top 2007 Toyota Corolla Exhaust Products from Walker. Walker products are another trusted brand when it comes to Exhaust products for your 2007 Toyota Corolla. Popular Walker parts include: Walker Exhaust 31639 Exhaust Pipe Flange Gasket. Exhaust Pipe & Flange Gasket. 4.6. from $7.99.

BMW Genuine Exhaust Muffler/Silencer ... | BMW Exhaust & Fuel ...

BMW Genuine Exhaust Muffler/Silencer ... | BMW Exhaust & Fuel ...

1998 Camry Exhaust Diagram? | Toyota Nation Forum You will have to purchase the whole exhaust piece, including the catalytic converter if you go to a dealer. I think that part is around $1200 at the dealer. A muffler shop can cut out that rusted out flex pipe and weld in a new aftermarket one. I had this done recently on my 94 Camry at an independent muffler shop. Cost was $150. Mike Strum

TOYOTA COROLLAAE101-ACMZF - TOOL-ENGINE-FUEL - EXHAUST PIPE ...

TOYOTA COROLLAAE101-ACMZF - TOOL-ENGINE-FUEL - EXHAUST PIPE ...

Exhaust Components for 2008 Toyota Corolla | McGeorge ... Exhaust Components for 2008 Toyota Corolla No. Part # / Description Price 1 Exhaust Manifold 17104-22100 Fits Corolla , Matrix All. Matrix. Corolla. Without awd. 2wd, 1.8L without xrs. MSRP $262.67 $175.13 Add to Cart 2 Exhaust Manifold Gasket 17173-0D020 Fits Celica, Corolla, Matrix, MR2 Gt. All. MR2. 4wd. Celica. Matrix.

Muffler for Toyota Corolla Verso 1.6 (ZNR10_) 2004-2009 ...

Muffler for Toyota Corolla Verso 1.6 (ZNR10_) 2004-2009 ...

› hyundai-fault-codesHYUNDAI Fault Codes DTC - Car PDF Manual, Wiring Diagram ... P0404 The pulse from the exhaust gas recirculation system controller is outside the operating range. ... im looking for wiring diagram for toyota corolla 1.3 xli 1994 ...

Pin on DIY Corolla Car Club

Pin on DIY Corolla Car Club

2022 toyota COROLLA Exhaust Manifold Gasket - 171730D020 ... Exhaust Manifold Gasket. 2022 toyota COROLLA. Genuine toyota Part - 171730D020 (1717322010, 17173-0D020, 171730D010, 171730D020). Ships from Toyota Parts Overstock, Lakeland FL

How to Install 93-97 Toyota Corolla Catback Exhaust

How to Install 93-97 Toyota Corolla Catback Exhaust

2003 Toyota Corolla Exhaust Systems | Complete Exhaust ... Determine the power and sound you demand for your 2003 Corolla and shop all available exhaust systems online. Select your '03 Toyota Corolla sub-model and engine details to buy the best exhaust system that fits your needs. MagnaFlow Toyota Corolla Street Series Cat-Back Performance Exhaust System #15807 $721 Learn More

TOYOTA COROLLAAE111L-GEMNK - TOOL-ENGINE-FUEL - EXHAUST PIPE ...

TOYOTA COROLLAAE111L-GEMNK - TOOL-ENGINE-FUEL - EXHAUST PIPE ...

Toyota Corolla Exhaust Systems from $265 | CarParts.com Traditionally, the Corolla includes different parts that are created by Toyota especially for these models; durable and reliable parts that include stylish and top-grade Toyota Corolla exhaust and exhaust system. Aside from these, Toyota always makes sure their vehicles got the best performance in the most reasonable price.

BJ73 3B Exhaust Routing | IH8MUD Forum

BJ73 3B Exhaust Routing | IH8MUD Forum

38 toyota corolla exhaust system diagram - Wiring Diagram ... Toyota corolla exhaust system diagram. Toyota Corolla PDF Manual - Wiring Diagrams Toyota Corolla 1984-1992 Repair Manual - Manual in English for the maintenance and repair of Toyota Corolla 1984-1992 model years Download. Toyota Sprinter PDF Workshop and Repair manuals, Wiring Diagrams.

Klarius Exhaust TOYOTA COROLLA VERSO 2.2 05-09 Centre ...

Klarius Exhaust TOYOTA COROLLA VERSO 2.2 05-09 Centre ...

beautyathomeshop.de › toyota-4age-buildToyota 4age build - beautyathomeshop.de The Toyota Corolla AE86 was a 2-door compact sports car manufactured by Toyota between 1983 and 1987, marketed as the sportiest offering within the wider fifth-generation E80 Toyota Corolla range. 8mm Metal Head Gasket for AE86 Toyota Corolla GTS $ 83. Now he can do it for you, too.

Toyota Corolla Replacement Exhaust Parts – CARiD.com

Toyota Corolla Replacement Exhaust Parts – CARiD.com

2020-2021 Toyota Corolla Sedan Exhaust: Borla Cat-Back System 2020-2021 Toyota Corolla Sedan Exhaust Systems. The BORLA® R&D team presents our exhaust system for the 2020 and up Toyota Corolla sedan. Our S-Type Cat-Back system is tuned specifically for the 2.0L engine in the Corolla's SE and XSE trim. It delivers a sportier sound without any of the dreaded drone inside the cabin.

A2136823900 Mercedes-Benz Heat Shield

A2136823900 Mercedes-Benz Heat Shield

TOYOTA COROLLA SED WG UKPZZE121R-DEMDKW - TOOL-ENGINE-FUEL ...

TOYOTA COROLLA SED WG UKPZZE121R-DEMDKW - TOOL-ENGINE-FUEL ...

TOYOTA COROLLAAE112R-GEMEKT - TOOL-ENGINE-FUEL - EXHAUST PIPE ...

TOYOTA COROLLAAE112R-GEMEKT - TOOL-ENGINE-FUEL - EXHAUST PIPE ...

Ragazzon - Exhaust System Subaru BRZ / Toyota GT86 2.0 (147kW)

Ragazzon - Exhaust System Subaru BRZ / Toyota GT86 2.0 (147kW)

Repairing an Exhaust Leak on a Toyota Corolla – Practical ...

Repairing an Exhaust Leak on a Toyota Corolla – Practical ...

The Definitive SC400 Exhaust Guide - ClubLexus - Lexus Forum ...

The Definitive SC400 Exhaust Guide - ClubLexus - Lexus Forum ...

Position of Parts in Body - Toyota Corolla 2004 Wiring

Position of Parts in Body - Toyota Corolla 2004 Wiring

Pin on Exhaust Systems, Car and Truck

Pin on Exhaust Systems, Car and Truck

Exhaust Components for 2010 Toyota Corolla | Toyota Parts Center

Exhaust Components for 2010 Toyota Corolla | Toyota Parts Center

Position of Parts in Body - Toyota Corolla 2004 Wiring

Position of Parts in Body - Toyota Corolla 2004 Wiring

SILENCER EXHAUST SYSTEM for Toyota Corolla (E12) 1.4 1.6 ...

SILENCER EXHAUST SYSTEM for Toyota Corolla (E12) 1.4 1.6 ...

Middle silencer for Toyota Corolla E9 1.3 i 75 HP 2E-E

Middle silencer for Toyota Corolla E9 1.3 i 75 HP 2E-E

TOYOTA COROLLA ALTISNZE140R-GEMNKP - TOOL-ENGINE-FUEL ...

TOYOTA COROLLA ALTISNZE140R-GEMNKP - TOOL-ENGINE-FUEL ...

Toyota Yaris GR 20+ MK2 HKS Legamax Premium Exhaust System ...

Toyota Yaris GR 20+ MK2 HKS Legamax Premium Exhaust System ...

Exhaust Pipe for 1977 - 1979 Toyota COROLLA KE30 | Europe ...

Exhaust Pipe for 1977 - 1979 Toyota COROLLA KE30 | Europe ...

Exhaust pipe for Toyota Alphard H30, 3 generation 01.2015 ...

Exhaust pipe for Toyota Alphard H30, 3 generation 01.2015 ...

How many catalytic converters are on a 2003 corolla and where ...

How many catalytic converters are on a 2003 corolla and where ...

0 Response to "38 toyota corolla exhaust system diagram"

Post a Comment

Iklan Atas Artikel

Iklan Tengah Artikel 1

Iklan Tengah Artikel 2

Iklan Bawah Artikel