Iklan 300x250

36 honda gcv190 carburetor diagram

Fixing a honda gc190 carburetor - YouTube Today I fixed my father in-laws power washer. He had trouble with it not running without the choke on. I show how to clean out a carb on a small engine in th... Honda Gc190 Carburetor Diagram - schematron.org 02.09.2018 02.09.2018 1 Comments on Honda Gc190 Carburetor Diagram Clean dissasembled parts with Honda Carburetor/Combustion Cleaner and then . type, and serial number when accessing the appropriate parts diagram.

PDF GCV135 GCV160 GCV190 GSV190 Engine Adjustment Information GCV135・GCV160・GCV190・GSV190 Engine Adjustment Information VALVE CLEARANCE NOTE: Valve clearance inspection and adjustment must be performed with the engine cold. ①. Place the engine upright with the cylinder head cover facing up. ②. Remove the four 6 x 12 mm flange bolts. ③.

Honda gcv190 carburetor diagram

Honda gcv190 carburetor diagram

Honda Engines GCV190LA N5AV ENGINE, USA, VIN# GJAAA ... Honda Engines GCV190LA N5AV ENGINE, USA, VIN# GJAAA-1607129 Parts Diagrams JACKS SMALL ENGINES HAS JOINED THE NORTHERN TOOL FAMILY! Learn More » Order Status Get Support 1-877-737-2787 Hours of Operation M-F 9AM-6PM ET Sat 9AM-5PM ET Contact Us » Name Guest Sign In Sign Up 0 Shopping Cart 3+ Million Parts 365 Day Returns Fast 2-4 Day Shipping PDF Honda gcv160 carburetor parts diagram Honda gcv160 carburetor parts diagram Hi, I'm in the process of servicing my Honda lawnmower, with Honda GCV160 engine. I'm looking for a service manual and parts list and diagram for this engine. Also, are there any diagrams for the carbs that show all the chambers/holes to be cleaned? My carb is p/n 16100-Z0L-023. Thanks for any help. Honda Engines | GCV190 Owner's Manual Download or purchase Honda Engine owners' manuals for the GCV190.

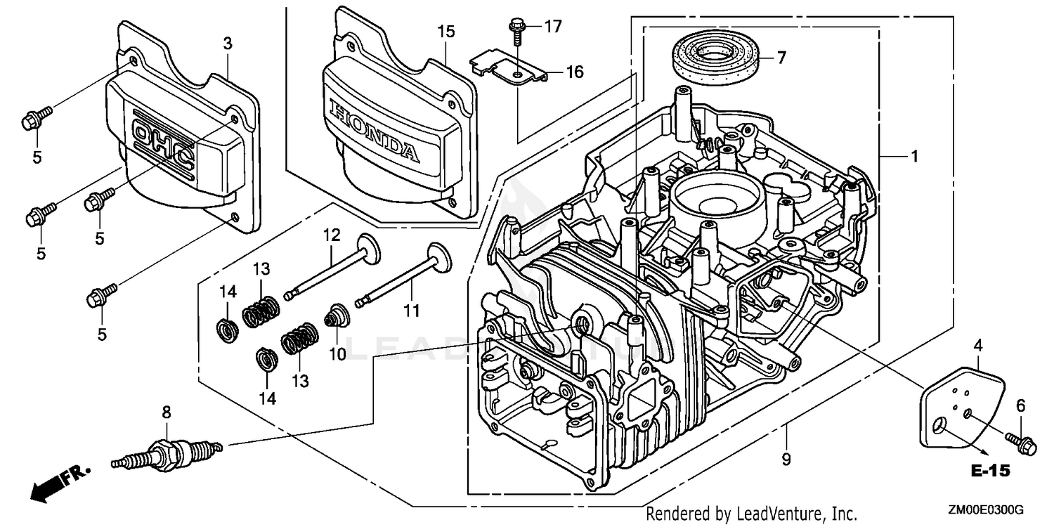
Honda gcv190 carburetor diagram. Amazon.com: honda gcv190 carburetor 16100-Z0Y-013 Carburetor for Honda GCV190 GCV190A GV190LA HRX217 HRB217 Manual Choke Pressure Washer Lawn Mowers Engines with gaskets 16211-ZL8-000 Insulator kit 167 $17 19 Get it as soon as Wed, Mar 16 FREE Shipping on orders over $25 shipped by Amazon Only 10 left in stock - order soon. Amazon.com: Honda 16100-Z1A-802 GC190 Carburetor Assembly ... Kizut GCV190 Carburetor Kit for GC190 GCV190 GCV190A GV190LA Engine HRB217 HRX217 HRX217K1 HRX217K2 Lawn Mower Replace 16100-Z0Y-813 16100-Z0Y-812 16100-Z0Y-003 16100-Z0Y-811 16100-Z0Y-013 Carb 4.4 out of 5 stars 140 Honda Engines GCV190 GCV Series OEM ... - Honda Lawn Parts Shop our large selection of Honda Engines GCV190 GCV Series OEM Parts, original equipment manufacturer parts and more online or call at 717-375-1021 Honda GCV190 LA N5B (GJAAA) - Honda Engine, Made in USA ... GCV190 LA N5B (GJAAA) - Honda Engine, Made in USA (SN: GJAAA-1607129 - GJAAA-9999999) CARBURETOR Parts Diagram Engine, Made in USA CARBURETOR Parts Diagram 1 Honda Part# 16010-883-015 GASKET SET In Stock, Qty 20+ $ 11.00 Add to Cart 0 2 Honda Part# 16013-ZL1-003 FLOAT SET Usually ships in 3 to 5 days $ 27.10 Add to Cart 0 3

PDF Honda Gc190 Engine Diagram - scene.gainesville.com Fixing a honda gc190 carburetor How To Set or Adjust the Governor on a Honda Engine - Video Why your Honda GCV190 engine may be running weirdCommon Problem HONDA GCV 190 engine. HARD to PULL . HARD to START FIX Pressure Washer ROCKER ARM Honda GCV / GXV Engine Carburetor Cleaning Guide STEP BY STEP HONDA GCV 160 CARBURETOR CLEANING THE CORRECT WAY Honda GCV190A (GJAAA) Engine Parts | Honda GCV190 Engine ... Recoil Starter Assembly for Honda GCV190A (GJAAA) Engines Fan Cover Assembly for Honda GCV190A (GJAAA) Engines Carburetor Assembly for Honda GCV190A (GJAAA) Engines Air Filter Assembly for Honda GCV190A (GJAAA) Engines Muffler Assembly for Honda GCV190A (GJAAA) Engines Flywheel and Ignition Coil (aluminum) Assembly for Honda GCV190A (GJAAA) Engines 42 honda gcv160 carburetor linkage diagram - Wiring ... Honda Small Engine Gc190a Ereplacementparts Com. 13 Carburetor Parts And Their Function (With Diagram ... Get your briggs and stratton today with diagrams accessories and repair advice from ereplacementparts. $9.99 $ 9. Gasket order when reattaching a carburetor to a Honda ... 4. Apr 2, 2015. #1. I had an issue last year with my Honda HRX2173VKA mower becoming very difficult to start. I decided to try cleaning the carburetor so I removed the main 2 bolts from the air filter and, unfortunately, the carb and attached gaskets came free without me being able to see exactly which ones went exactly where.

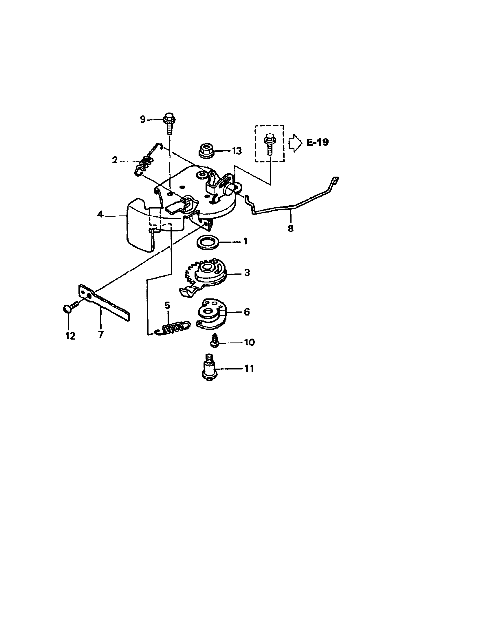
Honda Carburetor Troubleshooting Manual - International ... share similar inspection and adjustment procedures. This manual is intended to be a general guide to Honda Power Equipment float bowl type and metering.308 pages Honda Small Engine | GC190A | eReplacementParts.com I am looking to replace the carburetor on my pressure washer which uses the GC190 LA QHAF Honda motor. Your carb indicates that it is uses for SN1317375 or 6 motor. The only number that I can see is GCAA181520. Honda Gcv160 Carburetor Linkage Diagram - schematron.org The diagram indicates two linkages from the governor arm. Honda Lawn Mower Carburetor Honda Gcv Carburetor you will need your Model & serial number off of the engine to find the diagram. I have Honda HRTS3DA powered by GCV engine. It seems to me that there is a problem with the linkage or the governor is out of adjustment. PDF Honda Gc190 Engine Diagram - esanjoaquin.com Up Honda GC 160 190 Gasket Order, Governor Calibration, Adjustment, Air Box, and Carburetor Install Honda GCV190 Two Pressure Washers Same Problem Replacing the Timing Belt on a Honda GCV160 motor How To Destroy A Honda Engine By Setting The Governor Wrong - VideoHow To Tune Up Your Pressure Washer (GC190) Honda Rancher carb rebuild and ride Honda

Honda Gcv160 Throttle Spring Outlet Online, UP TO 51% OFF ...

Honda Gcv160 Throttle Spring Outlet Online, UP TO 51% OFF ...

PDF Gcv160 • Gcv190 American Honda Motor ... GCV160 • GCV190 B WARNING: B The engine exhaust from this product contains chemicals known to the Stat e of California to cause cancer, birth defects, or other reproductive harm. ... Refer to the individual diagrams below to determine your

MTD CMXGTAMDCS25 WC2200 41ADCS25793 Engine Assembly | Shanks Lawn

MTD CMXGTAMDCS25 WC2200 41ADCS25793 Engine Assembly | Shanks Lawn

Honda Gc190 Pressure Washer Carburetor Diagram ... Honda Engines Gc190la Vbaf Engine Usa Vin Gcaaa 1496157 Parts Diagram For Carburetor Honda Gc190 Engine Parts Honda Engines Gc190a Qhaf Engine Usa Vin Gcaaa 1000001 To 1496156 Parts Diagram For Carburetor Ac 5360 Honda Gcv160 Carburetor Diagram Likewise Pressure Washers

Toro 20192, Super Bagger Lawn Mower, 2009 (SN 290000001 ...

Toro 20192, Super Bagger Lawn Mower, 2009 (SN 290000001 ...

PDF GCV190 - American Honda Motor Company GCV160 • GCV190 (Appearance may differ in final application) [1] [2] [3] [5] [9] [8] [6] [4] [7] WARNING: The engine exhaust from this product contains chemicals known to the State of California to cause cancer, birth defects or other reproductive harm. COMPONENT LOCATION 1 Starter Grip 6 Spark plug 2 Fuel Filler Cap 7 Muffler

Honda GCV160-LAOS3B lawn & garden engine parts | Sears ...

Honda GCV160-LAOS3B lawn & garden engine parts | Sears ...

PDF Gcv160/Gcv190 Auto Choke System (Acs) New Parts GCV160/GCV190 AUTO CHOKE SYSTEM (ACS) NEW PARTS Several changes were recently made to the GCV160/190 ACS. The thermowax shape was changed from cylindrical to square and the auto choke control assembly was redesigned to match the characteristics of the new thermowax assembly.

Amazon.com: 16100-Z0Y-013 Carburetor for Honda GCV190 GCV190A ...

Amazon.com: 16100-Z0Y-013 Carburetor for Honda GCV190 GCV190A ...

HONDA GCV190 PARTS - ppe-pressure-washer-parts.com Honda doesnt make pressure washers so if you need pressure washer parts and not engine parts, then look on the base frame for a model number sticker. Then type the model number into our search box or give us a call call 1-888-279-9274 _____ HONDA GCV190 ENGINE BREAKDOWN GCV190 Engine Manual

curatare carburator Honda GCV135 GCV160 GCV190 - carburetor ...

curatare carburator Honda GCV135 GCV160 GCV190 - carburetor ...

Honda GCV-190-AS3A lawn & garden engine parts | Sears ... Honda GCV-190-AS3A lawn & garden engine parts - manufacturer-approved parts for a proper fit every time! We also have installation guides, diagrams and manuals to help you along the way!

19

19" HONDA HOVER MOWER PARTS MANUAL

Honda Engines GCV190LA S3L ENGINE, USA, VIN# GJAAA-1607129 ... Honda Engines GCV190LA S3L ENGINE, USA, VIN# GJAAA-1607129 CARBURETOR Parts Diagram AIR CLEANER CAMSHAFT PULLEY CARBURETOR CONTROL (2) CRANKSHAFT CYLINDER BARREL FAN COVER FLYWHEEL (1) FUEL TANK LABEL MUFFLER OIL PAN PISTON + CONNECTING ROD RECOIL STARTER GCV190LA S3L ENGINE, USA, VIN# GJAAA-1607129 CARBURETOR

Buy Butom GCV190 16100-Z0Y-013 Carburetor for Honda GCV 190 ...

Buy Butom GCV190 16100-Z0Y-013 Carburetor for Honda GCV 190 ...

GCV190 A A1AE (GJAAA) - Honda Engine, Made in USA (SN ... Repair parts and diagrams for GCV190 A A1AE (GJAAA) - Honda Engine, Made in USA (SN: GJAAA-1000001 - GJAAA-9999999)

Buy Kizut Carburetor Air Fuel Filter Tune Up Kit for GC190 ...

Buy Kizut Carburetor Air Fuel Filter Tune Up Kit for GC190 ...

Honda Engines | Small Engine Models, Manuals, Parts ... Bore x Stroke 41.8 X 36 mm Displacement 49.4 cm3 Net Power Output* 2.1 HP ( 1.6 kW) @ ... rpm Net Torque 2.0 lb-ft ( 2.7 Nm) @ ... .0:1 Carburetor Float Type Ignition ... dry Oil Capacity 0.26 US qt ( 0.25l) Fuel Unleaded 86 octane or higher Fuel Tank Capacity . ... U.S. qt (.77 liter) Dry Weight 12.1 lb ( 5.5 kg) GXH50SPECIFICATIONSFeatures

GCV160 CARBURETOR INSULATOR FOR HONDA GCV135 GCV190 GC135 160 ...

GCV160 CARBURETOR INSULATOR FOR HONDA GCV135 GCV190 GC135 160 ...

Honda GCV190-LABHH lawn & garden engine parts | Sears ... Honda GCV190-LABHH lawn & garden engine parts - manufacturer-approved parts for a proper fit every time! We also have installation guides, diagrams and manuals to help you along the way! ... Carburetor Diagram. Lawn & garden equipment engine carburetor gasket. Part #16228-ZL8-000 .

Honda GCV190 w/auto throttle | Power Equipment Forum

Honda GCV190 w/auto throttle | Power Equipment Forum

Honda Lawn Mower Repair - How to replace the Carburetor ... Need help replacing the Carburetor Float (Part 16013-ZL1-003) in your Honda Lawn Mower? Watch this how to video with simple, step-by-step instructions for a...

all Honda Power Equipment Parts Fiche | Eichner Sales ...

all Honda Power Equipment Parts Fiche | Eichner Sales ...

Honda Engines | GCV190 Owner's Manual Download or purchase Honda Engine owners' manuals for the GCV190.

Honda GCV-190-AS3A lawn & garden engine parts | Sears PartsDirect

Honda GCV-190-AS3A lawn & garden engine parts | Sears PartsDirect

PDF Honda gcv160 carburetor parts diagram Honda gcv160 carburetor parts diagram Hi, I'm in the process of servicing my Honda lawnmower, with Honda GCV160 engine. I'm looking for a service manual and parts list and diagram for this engine. Also, are there any diagrams for the carbs that show all the chambers/holes to be cleaned? My carb is p/n 16100-Z0L-023. Thanks for any help.

honda hrx 217 gcv 190

honda hrx 217 gcv 190

Honda Engines GCV190LA N5AV ENGINE, USA, VIN# GJAAA ... Honda Engines GCV190LA N5AV ENGINE, USA, VIN# GJAAA-1607129 Parts Diagrams JACKS SMALL ENGINES HAS JOINED THE NORTHERN TOOL FAMILY! Learn More » Order Status Get Support 1-877-737-2787 Hours of Operation M-F 9AM-6PM ET Sat 9AM-5PM ET Contact Us » Name Guest Sign In Sign Up 0 Shopping Cart 3+ Million Parts 365 Day Returns Fast 2-4 Day Shipping

16100-Z0Y-813 Carburetor for Honda GCV190 GCV190A GCV190LA HRB217 HRX217  HRX217K1 HRX217K2 Lawn Mower

16100-Z0Y-813 Carburetor for Honda GCV190 GCV190A GCV190LA HRB217 HRX217 HRX217K1 HRX217K2 Lawn Mower

19

19" HONDA HOVER MOWER PARTS MANUAL

Honda Small Engine Carburetor Replacement #16100-Z8B-901 ...

Honda Small Engine Carburetor Replacement #16100-Z8B-901 ...

Honda Engines GCV190LA G5BR CARBURETOR | CyclePartsNation ...

Honda Engines GCV190LA G5BR CARBURETOR | CyclePartsNation ...

Honda Small Engine | GC190A | eReplacementParts.com

Honda Small Engine | GC190A | eReplacementParts.com

Honda Engines GCV160LA0 S3B ENGINE, USA, VIN# GJARA-1000001 ...

Honda Engines GCV160LA0 S3B ENGINE, USA, VIN# GJARA-1000001 ...

Honda GCV-190-AS3A lawn & garden engine parts | Sears PartsDirect

Honda GCV-190-AS3A lawn & garden engine parts | Sears PartsDirect

Jonsered L4721-96795730100 gas walk-behind mower parts ...

Jonsered L4721-96795730100 gas walk-behind mower parts ...

Amazon.com : Savior GCV190 16100-Z0Y-013 Carburetor for Honda ...

Amazon.com : Savior GCV190 16100-Z0Y-013 Carburetor for Honda ...

Honda HRX217HXA GVC190 runs only on choke and hunts ...

Honda HRX217HXA GVC190 runs only on choke and hunts ...

Honda and Honda Power Equipment OEM Parts Finder | Weathers ...

Honda and Honda Power Equipment OEM Parts Finder | Weathers ...

2010_11_08 US GCV135 160 Engine Adjustment Information

2010_11_08 US GCV135 160 Engine Adjustment Information

HOW TO INSTALL MOST HONDA CARBURETORS / GASKET SEQUENCE!!

HOW TO INSTALL MOST HONDA CARBURETORS / GASKET SEQUENCE!!

Honda Lawn Mower HRX217 GCV 190 Auto Choke Carburetor Replace Gaskets Not  Working

Honda Lawn Mower HRX217 GCV 190 Auto Choke Carburetor Replace Gaskets Not Working

2010_11_08 US GCV135 160 Engine Adjustment Information

2010_11_08 US GCV135 160 Engine Adjustment Information

Honda Engines GCV190LA N5AP ENGINE, USA, VIN# GJAAA-1607129 ...

Honda Engines GCV190LA N5AP ENGINE, USA, VIN# GJAAA-1607129 ...

Honda Outboard 15HP OEM Parts Diagram for TIMING BELT | Boats.net

Honda Outboard 15HP OEM Parts Diagram for TIMING BELT | Boats.net

HEATER BLOWER for ACCORD 4D | Tosshin

HEATER BLOWER for ACCORD 4D | Tosshin

GCV135 GCV160 GCV190 GSV190 Engine Shop Manual | Honda Power ...

GCV135 GCV160 GCV190 GSV190 Engine Shop Manual | Honda Power ...

Honda GCV160 mower - hunting - OutdoorKing Repair Forum

Honda GCV160 mower - hunting - OutdoorKing Repair Forum

Cub Cadet FT24 21A-395A (HM 2009) 21A-395A710 (2009) 21A ...

Cub Cadet FT24 21A-395A (HM 2009) 21A-395A710 (2009) 21A ...

Honda Engines GCV160LE N7A1 ENGINE, ITA, VIN# GJAAE-2075803 ...

Honda Engines GCV160LE N7A1 ENGINE, ITA, VIN# GJAAE-2075803 ...

0 Response to "36 honda gcv190 carburetor diagram"

Post a Comment

Iklan Atas Artikel

Iklan Tengah Artikel 1

Iklan Tengah Artikel 2

Iklan Bawah Artikel