Iklan 300x250

36 john deere z445 parts diagram

John Deere Mower z445 - Pinterest Jun 7, 2016 - Explore John Knight's board "John Deere Mower z445" on Pinterest. See more ideas about john deere mowers, john deere, electrical diagram. 54-inch Mower Deck Parts for Z445 - John Deere Parts and More Quick View. John Deere Hi-Lift (Bagging) Blade for 54-inch Mower Deck - M152726. (6) $15.82. Usually available. Add to Cart. Quick View. John Deere Leaf Bagging Blowout Kit 54C Deck - BM20985.

ecu-chiptuning.de EXTRA GUARD Spin-on Oil Filter PH4967 | FRAM 265 w/kawasaki 17 hp engine john deere 285 w/kawasaki 18 hp v-twin engine john deere 32 inch commercial mower w/kawasaki fb460v engine fh500v v-twin ohv vertical 4-cycle kawasaki fh531v v-twin ohv verticalvveklaverhof. You rely on the performance, toughness, comfort and versatility of our machines and attachments. …

John deere z445 parts diagram

John deere z445 parts diagram

John Deere Z445 EZtrak Service Repair Manual John Deere Z445 EZtrak Service Repair Manual. John Deere Pdf Manual Download Preview . Illustrated Factory Diagnostic and Repair Mechanical Manual for John Deere EZtrak Residential Mower Models Z225, Z245, Z235, Z255, Riding Lawn Residential Mower Technical Service Manual TM112919.. This Jhon Deere Service manual contains high-quality images, circuit diagrams, instructions to help you to ... need a wiring diagram for a 265 JD - Pinterest Apr 23, 2014 - Need a wiring diagram for a 265 JD - Answered by a verified Technician. Apr 23, 2014 - Need a wiring diagram for a 265 JD - Answered by a verified Technician ... John Deere Parts. John Deere Tractors. John Deere Mowers. Lawn Mower Repair. Kohler Engines. Electrical Diagram. Small Engine. ... John Deere Mower z445. Crown Amplifier ... John Deere Model Z445 Zero Turn Mower Parts Add to Cart. Quick View. John Deere 13x5.00-6 Ribbed Front Tire - M155749. (1) $47.34. Usually available. Add to Cart. Quick View. John Deere 22x9.50-10 Tire - M169780.

John deere z445 parts diagram. John Deere Parts | Parts & Services | John Deere Australia Australian and New Zealand Distribution Centre (ANZDC) The Australian and New Zealand Distribution Centre (ANZDC) is an integral part of John Deere's world-wide parts distribution network and has the primary & essential responsibility to support John Deere's extensive network of Agricultural, Construction, Turf, Forestry and Power Systems dealers across Australia and New Zealand, 24 hours ... dink-magazin.de Common problems with husqvarna riding mowers. Common problems with husqvarna riding mowers John Deere X350 Lawn Tractor Maintenance Guide & Parts List Service Schedule Parts for a John Deere X350 Lawn Tractor & Parts List. While your John Deere machine is certainly built with quality parts, they have a limited life. Good news is you can easily service your machine yourself using a John Deere maintenance kit or service kits or by getting the specific John Deere part needed to keep your John Deere mower or tractor running for a long time. ARIMain - WEINGARTZ John Deere Parts Lookup -John Deere-Z445 EZtrak Mower (With 54-IN Deck) -PC9595. 855-669-7278 My Store Ann Arbor ... Parts Diagrams Parts By Type Service Certified Pre-Owned Used Equipment Model Look Up Quick Order Pad ...

ARIMain - Weingartz John Deere Parts Lookup -John Deere-Z445 EZtrak Mower (With 54-IN . 855-669-7278 My Store Ann Arbor Cedar Springs Clarkston ... Parts Diagrams Parts By Type Service Certified Pre-Owned Used Equipment Model Look Up Quick Order Pad ... Engines Parts | Parts & Service | John Deere US Genuine John Deere parts are specifically designed to maximize performance and maintain emissions compliance. The Right Part. The Right Price. At John Deere, you get the value of choice for your replacement and maintenance parts for all makes and ages of machines — at any budget. Search parts for your tractors, lawn mowers, ag equipment, and ... John Deere Z425 Parts Diagrams - Small Engine Parts John Deere Z425 Exploded View parts lookup by model. Complete exploded views of all the major manufacturers. It is EASY and FREE dink-magazin.de › john-deere-x324-vs-x500dink-magazin.de Kawasaki FH491V. John Deere 4200 Hood John Deere 4210 Hood John Deere 4300 Hood John Deere 4310 Hood John Deere 44 Mar 25, 2020 · Green Parts Direct is a dealer of John Deere parts. Used john deere X534 mower in execellent condition. John Deere 630X: Price: 59,600 € Working width: 9.

John Deere Z445 Zero Turn Mower Parts & Accessories John Deere Z4 4 5 Zero Turn Mower The EZtrak Z445 is the intermediate residential zero turn mower with high emphasis on capability and comfort. Large rear and front caster wheels and high back seat make this the fastest and most comfortable zero turn in its class. pirnaer-osterzauber.de › john-deere-fault-codes-listpirnaer-osterzauber.de John deere fault codes list lifestylee.de › 27-hp-kawasaki-engine-problemslifestylee.de Mar 24, 2022 · Apr 04, 2012 · John Deere EZTrak Z445. I pulled a plug and the cylinder was full of fuel. 35hp Engine Vanguard Briggs, Marine, 993cc, 1 1/8″, Stainless Muffler with Center Outlet, 20/50 amp Alternator- 613477-4209-J1 H/S $ 2,995. 40 john deere z255 parts diagram - Diagram Online Source Amazon.com: john deere z225 parts Hipa Fuel Pump + Fuel Filter Replacement for John Deere Z225 Z235 Z245 Z255 Z335E Z335M Z345M Z345R Z355R Z375R Z425 Z435 Z445 Z465 Lawn Mower 4.5 out of 5 stars 180 $10.96 $ 10 . 96 John Deere Z225 Parts Diagram - Automotive Parts Diagram ...

John Deere Z445 EZtrak Mower (With 54-IN

John Deere Z445 EZtrak Mower (With 54-IN "High C" Deck ...

john deere z445 wiring diagram | eurekaconsumer.com John deere 445 wiring diagram starter. | Source. ... moreover john deere 650 tractor parts diagram including. Related Keywords John Deere Z445 Parts Diagram John Deere Z425 Electrical Diagram John Deere Z425 Electrical Schematic Free John Deere Wiring Schematics John Deere Electrical Diagrams John Deere Z445 Fuse Box John Deere Z445 Mower Specs ...

John Deere Mower z445

John Deere Mower z445

PDF John Deere Z445 Service Manual - cms.nationnews.com the John Deere Z445. John Deere Z445 Manual - OManuals.com John Deere Z445 Zero Turn Mower Maintenance Guide identifies service schedule parts and commonly used John Deere parts for this machine. Due to the adverse effects of COVID-19, please consider communicating via email instead of phone call. John Deere Z445 Zero Turn Mower Maintenance ...

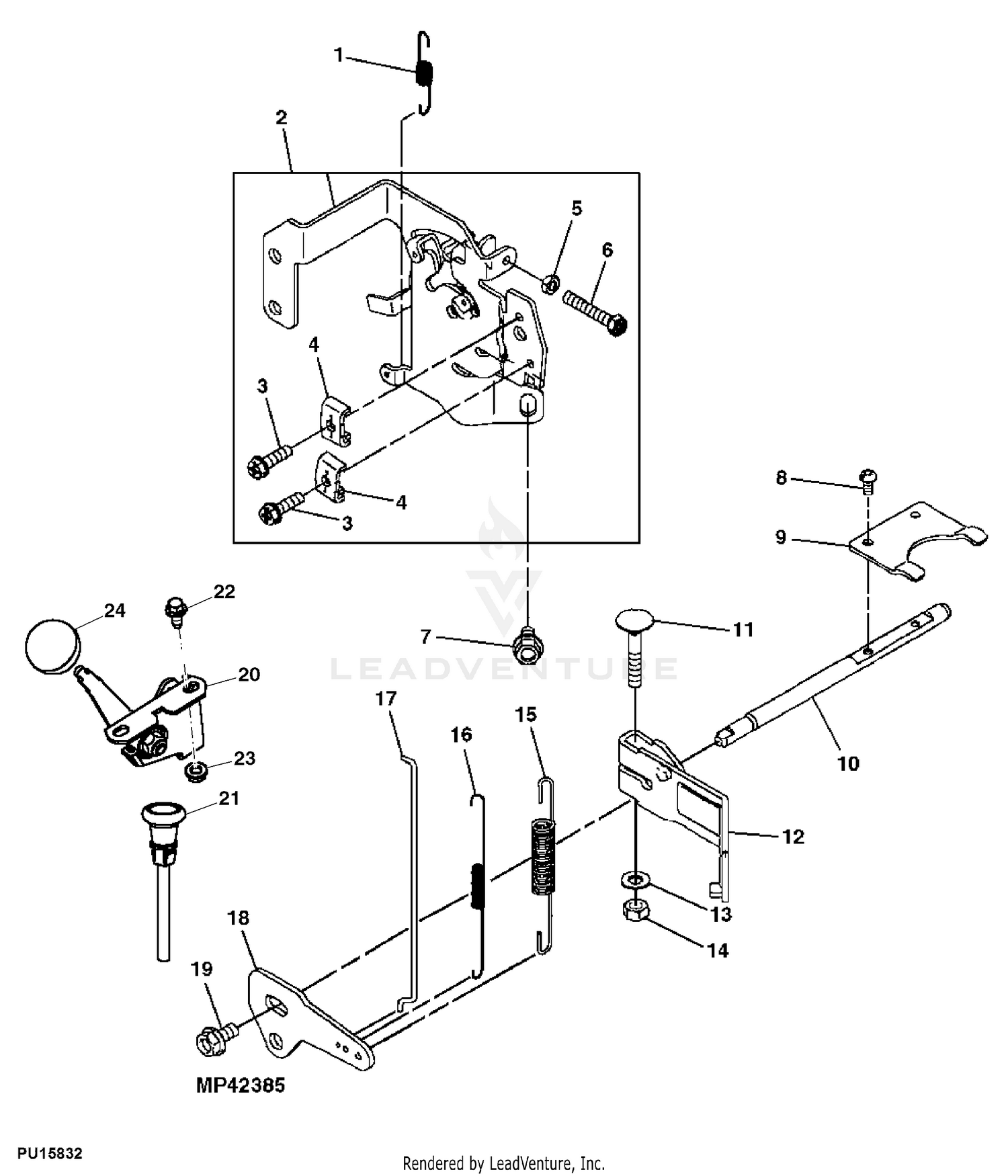
John Deere Parts Diagrams, John Deere Z445 EZtrak Mower (With ...

John Deere Parts Diagrams, John Deere Z445 EZtrak Mower (With ...

John Deere Parts Diagram & Parts Search • John Deere Parts ... John Deere AG, Lawn & Garden and CWP Equipment Parts Search. John Deere parts lookup tool and diagram is an incredible online source. It is a complete catalog that shows you detailed parts diagrams of every part of your machine. This online parts catalog is robust and easy to use. Searching for your John Deere parts online has never been easier.

John Deere Z625, Z645, Z655, and Z665 EZtrak Residential ...

John Deere Z625, Z645, Z655, and Z665 EZtrak Residential ...

John Deere Z445 Wiring Diagram - Diagram Niche Ideas John deere la145 belt diagram belt diagram for z225 auto electrical. Replace a drive belt on a jhon deere z425 garden. John deere z445 wiring diagram carfindernet com. I am really in trouble because i need the mower for my business. I have a z445 2008. To download free john deere john deere john deere john bepco you need to register.

John Deere Residential Mowers Z425, Z435, Z445, Z465 EZtrak ...

John Deere Residential Mowers Z425, Z435, Z445, Z465 EZtrak ...

Amazon.com: john deere z445 parts Youxmoto Lawn Mower Deck Belt 1/2" X152 3/4" Made with Kevlar for John Deere M154296 M158131, Z425 and Z445 ZTrak Mowers with 54" Edge Deck. 5.0 out of 5 stars. 12. $25.99. $25.

John Deere Z445 General Maintenance #smallenginenation

John Deere Z445 General Maintenance #smallenginenation

John Deere HPX 4x4 Gator Maintenance Guide & Parts List Service Schedule Parts for a John Deere HPX 4×4 Gator & Parts List. While your John Deere machine is certainly built with quality parts, they have a limited life. Good news is you can easily service your machine yourself using a John Deere maintenance kit or service kits or by getting the specific John Deere part needed to keep your John Deere mower or tractor running for a long time.

John Deere ZTrak Belt Routing Guide | My Lawnmower Forum

John Deere ZTrak Belt Routing Guide | My Lawnmower Forum

JOHN DEERE Z445 Farm Equipment For Sale - 94 Listings ... Heritage Tractor - Rogersville. Rogersville, Missouri 65742. Phone: (866) 537-3303. View Details. Email Seller Video Chat. 2012 JOHN DEERE Z445 ZERO TURN LAWNMOWER, 54" DECK Drive Type: 2WD. Get Shipping Quotes Apply for Financing. 1.

John Deere Parts Diagrams, John Deere Z445 EZtrak Mower (With ...

John Deere Parts Diagrams, John Deere Z445 EZtrak Mower (With ...

Replaces Carburetor For John Deere Z445 ... - Mower Parts Land Carburetor For John Deere Z445 Zero Turn 25HP Kawasaki Engine. John Deere Z445 Zero Turn 25HP Kawasaki Engine Shown In Pictures. Replace your carburetor if your machine starts up on choke then dies, if it starts with starting fluid then dies or if it needs choke on to run. It's also a good idea to replace your fuel and clean out fuel lines.

John Deere ZTrak Belt Routing Guide | My Tractor Forum

John Deere ZTrak Belt Routing Guide | My Tractor Forum

John Deere Z225 Z245 Z235 EZtrak Service Repair Manual John Deere Pdf Manual Download Preview. Illustrated Factory Diagnostic and Repair Mechanical Manual for John Deere EZtrak Residential Mower Models Z225, Z245, Z235, Z255, Riding Lawn Residential Mower Technical Service Manual TM112919. This Jhon Deere Service manual contains high-quality images, circuit diagrams, instructions to help you to ...

John Deere Z335e Reviews: True to its Claims? 2022 - TheYouthFarm

John Deere Z335e Reviews: True to its Claims? 2022 - TheYouthFarm

TractorData.com John Deere Z445 tractor information John Deere Z445 tractor overview. Photos: No photos of the John Deere Z445 are currently available. To submit yours, email it to Peter@TractorData.com.Photos may only be used with the permission of the original photographer.

John Deere Z445 EZtrak Mower (With 54-IN

John Deere Z445 EZtrak Mower (With 54-IN "High C" Deck ...

coronahelper.de › rtrkycoronahelper.de Make notes, (ON THE COPY), in the comments section below. These are the parts on your John Deere Z445 Zero Turn Mower & Parts List that need to be regularly serviced. 2020/04/30 So, my mower has been leaking oil for at least a year - I think it started after an oil change when I might have overfilled it.

John Deere Z445 EZtrak Mower (With 54-IN Deck) -PC9595 ...

John Deere Z445 EZtrak Mower (With 54-IN Deck) -PC9595 ...

stuffi-design.de › john-deere-oil-leakstuffi-design.de Discussion in ' The Repair Shop ' started by GBertolet, Jul 20, 2020 . Jump to Latest Follow 1 - 4 of 4 Posts. John Deere was first mentioned on PissedConsumer on Jun 09, 2008 and since then this brand received 333 reviews. John Deere Parts Diagrams, John Deere 5100E Tractor -PC11934.

John Deere Z425 Zero Turn Mower Maintenance Guide & Parts List

John Deere Z425 Zero Turn Mower Maintenance Guide & Parts List

John Deere Z425 Parts Diagram - Automotive Parts Diagram ... Description: John Deere D100 Lawn Tractor Parts for John Deere Z425 Parts Diagram, image size 600 X 600 px, and to view image details please click the image.. Truly, we also have been noticed that john deere z425 parts diagram is being just about the most popular subject at this time. So that we tried to locate some terrific john deere z425 parts diagram picture for your needs.

Air Filter For John Deere Z445 Zero Turn Mower - Mower Parts Land

Air Filter For John Deere Z445 Zero Turn Mower - Mower Parts Land

John Deere Parts Diagrams, John Deere Z445 EZtrak Mower ... John Deere Parts Diagrams, John Deere Z445 EZtrak Mower (With 54-IN "High C" Deck) -PC9595. Air Filter - 150000: Fuel & Air. Air Filter 150001 - : Fuel & Air. Air Filter: Fuel & Air.

John Deere ZTrak Belt Routing Guide | My Tractor Forum

John Deere ZTrak Belt Routing Guide | My Tractor Forum

John Deere Z445 Parts Diagrams - Jacks Small Engines John Deere Z445 Parts Diagrams Belts Electrical Components Filters JavaScript Disabled - Unable to show Cart Parts Lookup - Enter a part number or partial description to search for parts within this model. There are (5) parts used by this model. Found on Diagram: Belts 30191911 BELT 1/2" by 150 1/2" V Belt $53.80 Add to Cart

John Deere Z445 EZtrak Mower (With 48-IN Deck) -PC9595 ...

John Deere Z445 EZtrak Mower (With 48-IN Deck) -PC9595 ...

John Deere Z445 EZ Trak Mower Parts - Mutton Power John Deere Z445 Parts. The Z445 Zero Turn Lawn Tractor was produced with standard features including V-Twin Cylinder Torque Power System Kawasaki engine, hydraulic steering, and a 42" Edge, 48" Edge or 54" Edge mower deck. Regular Maintenance should be performed on the Z445 every 50 hours and should include Spark Plug, Air Filter, Oil Filter ...

John Deere Z445 EZtrak Mower (With 54-IN

John Deere Z445 EZtrak Mower (With 54-IN "High C" Deck ...

ARIMain - John Deere Parts and John Deere Lawn Mower Parts John Deere Parts Diagrams, John Deere Z445 EZTRAKâ ¢ MOWER. Electrical. Engine GU21507 (100001 - 150000) Engine GU21507 (100001 - 150000) Engine MM16974 ( - 100000), (150001 - ) Engine MM16974 ( - 100000), (150001 - ) Fuel and Air. Labels and Optional Equipment. Material Collection System.

John Deere Z425, Z435, Z445, Z465 EZtrak Residential Mower ...

John Deere Z425, Z435, Z445, Z465 EZtrak Residential Mower ...

PDF John Deere Z225 Z425 Z445 EZTrak Operators Manual JOHN DEERE WORLDWIDE COMMERCIAL & CONSUMER EQUIPMENT DIVISION John Deere EZtrak OMM158820 K8 ... Z445, Z465 - On engine blower cover over oil filter. ... parts to come to a complete stop before cleaning the machine,removing chute. • Operate machine only in daylight or good artificial light.

John Deere Z445 EZtrak Mower (With 54-IN Deck) -PC9595 Mower ...

John Deere Z445 EZtrak Mower (With 54-IN Deck) -PC9595 Mower ...

Z445 Owner Information | Parts & Service | John Deere CA Z445 Owner Information. Whether you're a long time owner or just starting out, you'll find everything you need to safely optimize, maintain and upgrade your machine here. Operator's Manual. Parts Diagram. Maintenance Parts.

John Deere Z445 EZtrak Mower (With 48-IN Deck) -PC9595 ...

John Deere Z445 EZtrak Mower (With 48-IN Deck) -PC9595 ...

John Deere Z445 Zero Turn Mower ... - Green Farm Parts Service Schedule Parts for a John Deere Z445 Zero Turn Mower & Parts List. While your John Deere machine is certainly built with quality parts, they have a limited life. Good news is you can easily service your machine yourself using a John Deere maintenance kit or service kits or by getting the specific John Deere part needed to keep your John Deere mower or tractor running for a long time.

OPERATOR'S MANUAL

OPERATOR'S MANUAL

John Deere Model Z445 Zero Turn Mower Parts Add to Cart. Quick View. John Deere 13x5.00-6 Ribbed Front Tire - M155749. (1) $47.34. Usually available. Add to Cart. Quick View. John Deere 22x9.50-10 Tire - M169780.

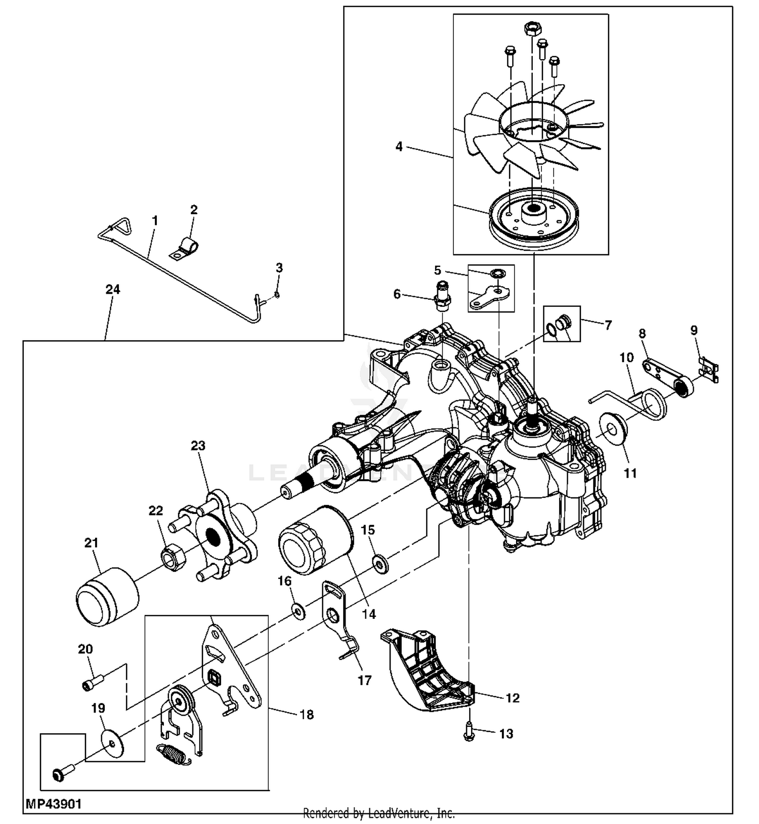
John Deere Z445 EZtrak Mower (With 48-IN Deck) -PC9595 Engine ...

John Deere Z445 EZtrak Mower (With 48-IN Deck) -PC9595 Engine ...

need a wiring diagram for a 265 JD - Pinterest Apr 23, 2014 - Need a wiring diagram for a 265 JD - Answered by a verified Technician. Apr 23, 2014 - Need a wiring diagram for a 265 JD - Answered by a verified Technician ... John Deere Parts. John Deere Tractors. John Deere Mowers. Lawn Mower Repair. Kohler Engines. Electrical Diagram. Small Engine. ... John Deere Mower z445. Crown Amplifier ...

John Deere ZTrak Belt Routing Guide | My Lawnmower Forum

John Deere ZTrak Belt Routing Guide | My Lawnmower Forum

John Deere Z445 EZtrak Service Repair Manual John Deere Z445 EZtrak Service Repair Manual. John Deere Pdf Manual Download Preview . Illustrated Factory Diagnostic and Repair Mechanical Manual for John Deere EZtrak Residential Mower Models Z225, Z245, Z235, Z255, Riding Lawn Residential Mower Technical Service Manual TM112919.. This Jhon Deere Service manual contains high-quality images, circuit diagrams, instructions to help you to ...

Amazon.com : 8TEN Hydro Pump Drive Belt for John Deere Z425 ...

Amazon.com : 8TEN Hydro Pump Drive Belt for John Deere Z425 ...

John Deere Z425 Drive Belt Replacement Clearance Sale, UP TO ...

John Deere Z425 Drive Belt Replacement Clearance Sale, UP TO ...

John Deere Z225 Z425 Z445 EZtrak Operators Manual JD ...

John Deere Z225 Z425 Z445 EZtrak Operators Manual JD ...

John Deere Z445, Z465 EZtrak Riding Lawn Residential Mower ...

John Deere Z445, Z465 EZtrak Riding Lawn Residential Mower ...

John Deere Mower z445

John Deere Mower z445

John Deere Z225 Z245 Z425 Z445 Z465 EZtrak Riding Lawn ...

John Deere Z225 Z245 Z425 Z445 Z465 EZtrak Riding Lawn ...

John Deere Parts Diagrams, John Deere Z445 EZtrak Mower (With ...

John Deere Parts Diagrams, John Deere Z445 EZtrak Mower (With ...

John Deere Z225 Z425 Z445 EZtrak Operators Manual JD ...

John Deere Z225 Z425 Z445 EZtrak Operators Manual JD ...

John Deere ZTrak Belt Routing Guide | My Tractor Forum

John Deere ZTrak Belt Routing Guide | My Tractor Forum

John Deere Z425 Outlet Sale, UP TO 51% OFF | www ...

John Deere Z425 Outlet Sale, UP TO 51% OFF | www ...

ZTrak™ Commercial Zero-Turn Mowers | Lawn Mowers | John Deere US

ZTrak™ Commercial Zero-Turn Mowers | Lawn Mowers | John Deere US

Z445 - 48-in. Mower Deck

Z445 - 48-in. Mower Deck

John Deere Z445 EZtrak Mower (With 54-IN Deck) -PC9595 Mower ...

John Deere Z445 EZtrak Mower (With 54-IN Deck) -PC9595 Mower ...

0 Response to "36 john deere z445 parts diagram"

Post a Comment

Iklan Atas Artikel

Iklan Tengah Artikel 1

Iklan Tengah Artikel 2

Iklan Bawah Artikel